Soyuz Bomblet vs 1973

Vladimir74

Well-Known Member
22 Апр 2011
2.601
726
113
51
Россия, Краснодар
wolchenko.ru
Предлагаю обсудить разницу в данных микрофонах. Итак капсюль там одинаковый судя по рекламе, схемотехника на полевых транзисторах. В чем разница? В Bomblet есть трансформатор в 1973 видимо его нет? Цена в два раза отличается. Кто в курсе?
 
Визуально количество деталей в "1973" сравнимо с "Октава 105"
220845


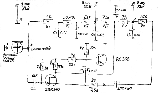
Bobmlet скорее всего имеет такую схему:
220846

Все это чисто по фотографиям.
 
Последнее редактирование:
  • Like
Реакции: Vladimir74

Сейчас просматривают